Kirjoittaja Perinnerakentamiskeskus Rikalanmäki konservaattori Wilma Patomäki , copyrights Patomäki
Kun verhot tulivat Suomalaisiin koteihin ne valmistettiin yleisesti itse myös kankaat tehtiin itse
1700- ja 1800-luvun gardiineja
Oleellinen osa vanhan talon tunnelman saavuttamisessa on toteuttaa myös tekstiilit perinteiden mukaisesti. Seuraavaksi kolme perinteistä gardiinityyppiä jotka voi joko toteuttaa itse tai hankkia valmiina.

Rullagardiinit
Kankaiset rullaverhot yleistyivät varakkaissa taloissa jo 1700-luvulla. 1800-luvulla levisi muoti myös maaseudulle ja kaupunkien porvariskoteihin. Verhojen käyttö tapahtui saman aikaisesti ikkunalasin yleistymisen kanssa.
Alun alkaen verhot naulattiin ikkunan yläkarmiin ja alapäähän laitettiin pyöreä puutanko.Myöhemmin käytettiin erillistä kantikasta rimaa. Verhoa nostettiin ja laskettiin nyöreillä jotka juoksivat lasisten renkaiden lävitse. Lasirenkaat kiinnitettiin vuorostaan nahkaisilla suikaleilla seinään. Naulauksessa käytettiin sepän takomia nauloja, isolla kannalla tai messinkisellä nupilla. Yleensä verho peitti vain ikkunalasit tai ylitti ainoastaan hiukan karmilaudan sisäreunan. Karmilaudat tekivät näin kehyksen verhon ympärille.
Verhojen kankaat olivat yleensä kotikutoisia, usein kahdesta vuodasta jotka oli ommeltu keskeltä yhteen. Verhot eivät siis olleet niin sileitä ja viimeisteltyjä kun nykyaikaiset rullaverhot ovat. Ensin tulivat verhoissa käyttöön yksiväriset tai ruudulliset kankaat ja myöhemmin myös raidalliset. Usein huonekaluissa käytettiin samoja kankaita kuin verhoissakin.
Rullagardiini toimii yhtä hyvin myös valoverhona kun käytät läpinäkyvää kangasta, perinteisin on ohut pellavakangas.
Näin teet itsellesi 1700-luvun rullaverhon
( katso erillinen ohje )
Gardiinilaudat ikkunan yläpuolelle
Verholaudat olivat yleisiä koko 1800-luvun kartanoissa, maalaistaloissa ja torpissa. Verholauta toteutettiin perinteisesti naulaamalla noin tuuman paksuinen muotoiltu lauta ikkunan yläpuolelle vaakatasoon johon sitten kiinnitettiin ikkunaverho laskostetusti niin että verho peitti halutun osan ikkunasta. Haluttaessa verhot myös rypytettiin yhden tai useamman rypytyslangan avulla.
Ikkunalauta kiinnitettiin joko aivan yläkarmilaudan päälle tai kattolistan ja karmilaudan välimaille. Eri asennukset antavat varsin erilaisen vaikutelman. Verholaudat olivat muodoiltaan vaihtelevia, yleisin muoto oli kaareva mutta myös aaltoilevia käytettiin. Laudat maalattiin perinteisesti samalla värillä kuin karmilaudat.
Salusiiniverhot
Niin kutsutut salusiiniverhot yleistyivät noin 1800-luvun puolesta välistä alkaen. Tällöin kiinnitettiin puutangolla verhot peittämään ikkunan alaosaa, kuten nykyaikana verhot kiinnitetään muovitetuilla jousivaijereilla. Puutanko värjättiin päitä myöten mustaksi kimröökillä. Tangon päähän sorvattiin kaunis nuppi. Tanko kiinnitettiin verhokankaan kanssa taotuilla koukuilla seinään ikkunan karmilautojen vierestä.

Salusiinisetin osat

Rullaverhon osat , lasirinkula, nahkapaloja sekä villanauhaa tai puuvilla nauhaaa
Näin valmistat itse 1700-luvun rullaverhon
- Mittaa ikkuna ja leikkaa sopivan kokoinen pala kangasta. Korkeudessa on syytä varata taitoksiin ja kiinnitykseen keppeihin noin 20 cm ylimääräistä.
- Kun teet vanhalla tavalla, niin kangas vain kiedotaan yläriman ympärille naulaten piiloon. Nykyaikainen tapa on liimata kanttinauha rimaan johon kangas kiinnitetään tarranauhaa käyttäen.
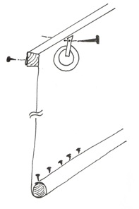
- Katkaise verhon leveyden mukaiset puuosat, eli ylös rima (n. 1cmx2cm) ja alas pyöreä tanko (halkaisijaltaan noin 3,5 cm). Katso kuva 1.
- Kiinnitä verhokangas puuosiin nupinauloilla tai niiteillä, kiinnitykset eivät tule näkymään ylärimassa mutta alatangossa kylläkin. Ole huolellinen että kangas kiinnittyy suoraan puutangolle ja ylärimaan. Katso kuva 2. Voit vaihtoehtoisesti ommella kujan pyöröpuuta varten verhon alareunaan.
- Pujota nahkaremmit lasirenkaiden lävitse ja tee reiät remmeihin esimerkiksi naskalilla. katso kuva 2.
- Mittaa riittävän pitkä pätkä pumpulinarua ja solmi lenkit narun molempiin päihin. Vedä nauru yhden lasirenkaan lävitse. Katso kuva1.
- Poraa valmiiksi reiät ylärimaan kiinnityskohtiin ja kiinnitä verho taotuilla nauloilla tai ruuveilla (huomio että kannan tulee peittää reikä siististi). Älä unohda kiinnittää samalla naruja lenkeistään. Katso kuva 1.
- Laita pumpulinaru (villa tai puuvillanaru) paikoilleen ja koe rullaa. Katso kuva 1.
- Kiinnitä seinään naula tai kiinnike kun olet löytänyt sopivan korkeuden.
Tarvikkeet rullaverhon valmistamiseen
Verhokangasta, käsin taottuja nauloja tai ruuveja, nupinauloja tai niittejä, pumpulinarua(10m), 2 suupuhallettua lasirengasta, 2 nahka remmiä, rimaa (12mmx22mm) ja pyörötankoa: halkaisija 27mm pituus 150cm tai ikkunan mukainen. Mahdollisesti voit käyttää seinäkiinnikkettä säätönarulle.
Tarvikkeita kannattaa kysyä hyvin varustetuista perinnerakentamiseen erikoistuneista kaupoista. Voit löytää sopivia osia myös askarteluliikkeistä muunnellen hieman tuotteita.



